依家网

更新于 2024-03-29

合景同创广场

关注
售完 商业 毛坯 已开盘 景观居所
57500元/㎡
参考均价
300万以下
咨询首付
1-3房
106-300㎡
开盘 2020-12-31 新开盘通知
位置
盐田沙盐路与官上路交汇处
发地址到手机
变价通知
组团砍价

13826574263
15899920080

立即咨询售楼现场优惠(安全通话)

中房翰林门户型图

余房查询
  • 全部户型(5)
  • 1室(1)
  • 2室(2)
  • 3室(2)
成交价查询
余房查询
买房交流群 3042 人正在讨论深圳楼市
深圳买房交流群-65群(338)
楼盘评测报告

7.2

综合评分
楼盘品质
8
社区配套
6
区域价值
7.5

中房翰林门楼盘信息

领取楼盘评测报告
基本信息
  • 楼盘名称: 中房翰林门
  • 楼盘别名: 中房翰林门, 东顺雅苑
  • 区域商圈: 盐田 -沙头角
  • 物业类型: 住宅
  • 参考单价: 57500元/㎡ 降价通知
  • 产权年限: 商用公寓40年
  • 开盘/加推: 2020-12-31 新开盘通知
  • 销售状态: 在售
  • 楼盘地址: 盐田沙盐路与官上路交汇处 发地址到手机
  • 售楼处地址: 深圳市盐田区沙头角沙盐路与官上路交汇处
建筑规划
  • 交房时间: 2023-12-31
  • 装修情况: 精装修,公共部分精装,其他
  • 楼栋总数: 2栋
  • 规划户数: 753户
  • 占地面积: 6623㎡
  • 建筑面积: 83469㎡
  • 容积率: 9
  • 绿化率: 30%
  • 建筑类型: 塔楼,高层
  • 主力户型: 1室(1) 、 2室(2) 、 3室(2)
  • 开发公司: 深圳市中房房地产开发有限公司
领取完整楼盘评测报告,楼盘优劣全知道
售卖资格
预售证号 发证时间 绑定楼栋
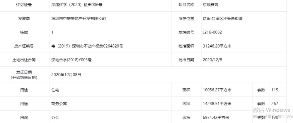
  • 深房许字(2020)盐田006号 2020-12-08 1栋B座
生活配套
  • 物业公司: 深圳市中房物业发展有限公司
  • 物业费: 6元/㎡/月
  • 车位数: 地上车位数20;地下车位数370
  • 周边配套:
    • 交通项目距离8号线海山站、沙头角站约800m,1站接轨罗湖,直连地铁2号线,8号线的贯通将使得出行变得更加便捷。 项目通过深盐路、惠深沿海高速、高速盐排高速 、惠盐高速等主要道路与周边其他片区连接,交通四通八达。同时,东侧紧邻沙头角口岸,南面与香港相接。
    • 中**田心**、田东**
    • 综合商场壹海城、中英街、盐田区现代产业服务中心、精茂城等
    • 医院盐田区人民医院、盐田区妇幼保健院
    • 其他东和公园、海山公园、滨海栈道、、体育馆、图书馆、文化艺术中心馆、中英街博物馆、沙头角口岸等
领取完整楼盘评测报告,楼盘优劣全知道
楼盘介绍

项目介绍

中房翰林门位于深圳市盐田区沙盐路与官上路交汇处,项目占地6622.97㎡,建筑面积83468.98㎡,绿化率30%。项目由1栋31层的住宅楼及1栋39层的商务楼组成,是集住宅、商务公寓、办公及商业为一体的新型综合体。住宅主力户型为71-89㎡,公寓及办公主力户型为38-65㎡。 沙头角核芯区域:项目位于沙盐路与官上路交汇处,处于盐田沙头角纯熟居住区,承接“一带一路”与东进战略的门户之势,总投资超1400亿的战略行动方案,打造深圳第三条金贸走廊。盐田总规划超 600 万㎡,总投资约 440 亿打造39个更新项目,,而沙头角片区占据了22个,区域蝶变在即。 盐田产业升级:汇聚众多著名企业总部,包括周大福总部、华大基金总部、盐田港总部、万科总部等,形成港口物流、滨海旅游、生物科技、黄金珠宝四大支柱产业。同时2019年年底,腾讯、平安、华为组团进驻,要把盐田打造为“智慧城市”,盐田未来可期。 8号线启幕盐田新时代:盐田区首条地铁8号线将10月28日正式通车,项目约800m**沙头角站、海山站。1站接轨罗湖,直连地铁2号线,12站即达福田中心。近距离惠深沿海高速、东部过境高速、盐坝高速、盐排高速,四大高速通行全城。靠近莲塘&沙头角双口岸,深港生活圈。 繁华商配,高配生活圈:项目近享约36万㎡壹海城、“购物天堂”中英街、约7万㎡精茂城三大商圈簇拥,家门口纵享便捷生活圈。包含盐田区政府、沙头角体育馆、沙头角文化中心、中英街博物馆等人文配套,其中沙头角文化中心包含文化馆、图书馆、书城、影院等配套设施。 山海大境,优渥生态资源:拥揽约31.8平方公里梧桐山,阔揽“海滨玉带\"约19.5公里东部海滨栈道。环绕东和公园、盐田中央公园,海山公园三大公园,近享惬意生活。 一级学府环绕:项目与省一级公办田心**一路之隔,拥有25个教学班、75名教职工的优渥教育资源;更有田东**(2019盐田**排名第三)、盐田机关幼儿园等省一级教育环绕,构筑一站式优质教育圈。 多维互动园林,悠享全龄乐活社区:打造城市中会呼吸的社区,集下沉式会客厅、多重水景、儿童乐园、康体健身等互动空间于一体。 智能社区,精装家居:打造视频监控、高空抛物360°鹰眼系统、人脸识别、可视对讲、停车管理等智能社区管理系统;公寓产品更配备智能家居系统、品牌瑧装系统、品牌卫浴、四大收纳系统等。

区位介绍

中房·翰林门,地处沙头角城央核芯圈,浓缩一城的精彩,以醇熟配套还原繁华生活本真。位于高起点高标准进行规划建设的城市新区,不仅拥有完善的生活配套,还有非常宜居的生态环境。

规划设计

中房翰林门建面约38-65㎡臻装公寓,采用全系品牌瑧装,通燃气,更在水电的供应上采用相较于商业用电更加便宜实惠的民水民电,自带阳台,居家中可俯瞰海景,品质力不彰自显。带阳台通燃气 民水民电 建面约67-71㎡智享4.5米空间 建面约38-65㎡臻装商务公寓

景观特色

中房翰林门拥揽约31.8平方公里梧桐山,阔揽世界**长“海滨玉带"约19.5公里东部海滨栈道。环绕东和公园、盐田中央公园,海山公园三大公园,近享惬意生活。

建筑风格

中房翰林门约3000㎡酒店式大堂,约7m层高精选高端石材,以高雅金属线条的设计概念,打造奢阔空间气派。项目实现建筑与自然的无缝融合,打造多重垂直绿层级化、迎宾水景、跌水景观、充分朴树、铁冬青、假槟榔、鸡蛋花等宽叶热带植物;使得整个园林生机勃勃。

项目优势

中房翰林门“深圳湾1号”的缔造者——鹏瑞,时隔八年选择落子盐田,欲打造属于盐田的“深圳湾1号”。已经入市的百万综合体新品——鹏瑞尚府,定会助力区域发展,未来指日可待。提及盐田区域价值的爆发,就不得不说近年来备受盐田人民瞩目的田心工业区重点项目规划。不仅如此,在区域升级上,随着卓越、万科、合正、鹏瑞等众多品牌开发商的进驻,沙头角区域蝶变迎来加速,区域价值爆发在即!如此重量级的城市规划,中房·翰林门正处于“城市更新”这项进程里,享受着盐田这所未来之城的首发红利,更有城央核心圈丰富资源。
更多信息,咨询楼盘置业管家
  • 楼盘点评
  • 在售面积:96-99-116-118平 1栋一单元3梯5户,二单元3梯4户 2025年9月交房,使用率81%,44层 开发商:宏发 占地:4.8万平米 建面:55万平米

  • 卷价格,品质不减配 红山之上·都心理想生活范本 约31万㎡稀缺大社区大配套 建面约80-113㎡甄选3-4房 总价420万内任选80平三房 总价465万内任选89平三房

  • 卷价格,品质不减配 红山之上·都心理想生活范本 约31万㎡稀缺大社区大配套 建面约80-113㎡甄选3-4房 总价420万内任选80平三房 总价465万内任选89平三房

本楼盘交流群,3042 人正在讨论

房价走势 完整走势 ﹥
楼盘均价 25000元/㎡

环比上月持平

区域均价 36366元/㎡

环比上月持平

专属置业报告
您的购房需求
区域价值分析
猜你喜欢
买房群
看了这么久,立即咨询售楼现场优惠吧  ↓