依家网

更新于 2024-03-29

君临海域

关注
售完 商业 精装修 已开盘 不限购
40000元/㎡
参考均价
300万以下
咨询首付
2-4房
70-160㎡
开盘 2020-09-24 新开盘通知
位置
盐田沙头角金融路与公园路交界处
发地址到手机
变价通知
组团砍价

13826574263
15899920080

立即咨询售楼现场优惠(安全通话)

卓越荣津瀚海湾户型图

余房查询
  • 全部户型(5)
  • 1室(1)
  • 2室(2)
  • 3室(1)
  • 4室(1)
成交价查询
余房查询
买房交流群 3042 人正在讨论深圳楼市
深圳买房交流群-65群(338)
楼盘评测报告

7.2

综合评分
楼盘品质
8
社区配套
6
区域价值
7.5

卓越荣津瀚海湾楼盘信息

领取楼盘评测报告
基本信息
  • 楼盘名称: 卓越荣津瀚海湾
  • 楼盘别名: 卓越桥东旧改 卓越荣津瀚海湾名庭
  • 区域商圈: 盐田 -沙头角
  • 物业类型: 住宅
  • 参考单价: 40000元/㎡ 降价通知
  • 产权年限: 商住公寓70年
  • 开盘/加推: 2020-09-24 新开盘通知
  • 销售状态: 在售
  • 楼盘地址: 盐田沙头角金融路与公园路交界处 发地址到手机
  • 售楼处地址: 沙头角镇金融路与公园路交界处
建筑规划
  • 交房时间: 2023-09-30
  • 装修情况: 精装修,公共部分精装
  • 楼栋总数: 4栋
  • 规划户数: 872户
  • 占地面积: 13622㎡
  • 建筑面积: 108862㎡
  • 容积率: 6
  • 绿化率: 30%
  • 建筑类型: 塔楼
  • 主力户型: 1室(1) 、 2室(2) 、 3室(1) 、 4室(1)
  • 开发公司: 深圳荣津房地产开发有限公司
领取完整楼盘评测报告,楼盘优劣全知道
售卖资格
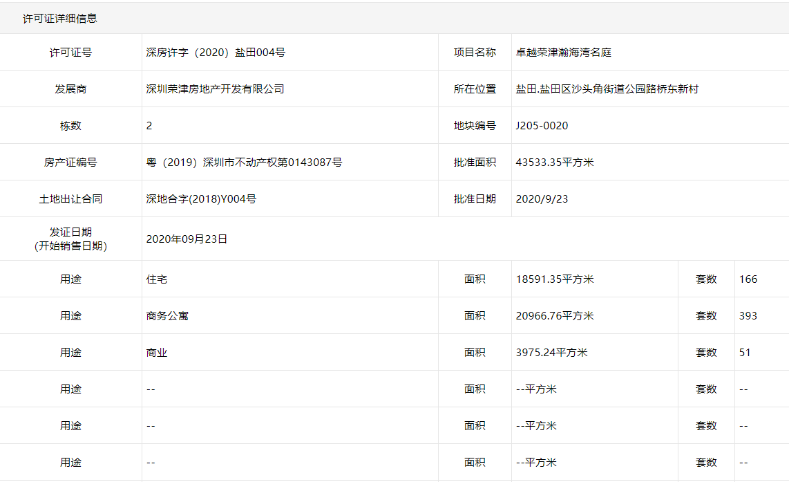
预售证号 发证时间 绑定楼栋
  • 深房许字(2020)盐田004号 2020-09-23
  • 深房许字(2020)盐田004号 2020-09-23 1栋,2栋A座
查看全部
生活配套
  • 物业公司: 卓越物业
  • 物业费: 5元/㎡/月
  • 车位数: 地下车位数600,车位配比:1:0.5
  • 周边配套:
    • 交通公交:项目周边有103、205、308、387、358等多路公交车; 3大高速+1通道:东部沿海高速、盐排高速、盐坝高速联通福田、罗湖、龙岗,坪盐通道(在建中)预计2021年开通,畅享深圳中芯生活圈。 2大地铁:地铁8号线预计今年开通,两站即达罗湖,贯穿罗湖、福田、南山。18号宝盐线(规划中),快速通达大空港。 2大口岸:沙头角-莲塘双口岸规划,高效联通深港两地。
    • 幼儿园盐田区机关幼儿园
    • 中**海涛**、田心**、田东**、沙头角中心
    • 综合商场沙头角田心市场、百家乐商业城、荣津乐活城、中英街、壹海城、华润万家
    • 医院深圳市盐田区人民医院(二级甲等),深圳市梅沙医院(一级甲等),深圳市盐港医院(三级甲等),深圳市盐田区妇幼保健院
领取完整楼盘评测报告,楼盘优劣全知道
楼盘介绍

项目介绍

**荣津瀚海湾地处盐田区沙头角海涛路与公园路交汇处,是**集团与荣津集团联手开发的高品质精装智能社区,住宅面积40-117㎡,公寓面积30-70㎡。**荣津瀚海湾采用悦系精装标准,全面打造智慧社区。架空层云会所覆盖全龄休闲需求,自带5000㎡风情商业街,9班制幼儿园。尊享荣津物业,周边配套丰盛,交通畅达。

项目内部规划以智慧赋能,在精睿与智能的交融中演绎美的生活,精心推出3大优居系统(人性化家装系统、L型厨房系统、高效收纳系统),以及4大智慧系统(家庭中枢系统、智能照明系统、家居安防系统、社区防护系统)。

区位介绍

**荣津瀚海湾项目位于沙头角街道,沙深路东侧、金融路南侧,盐田区中心的重要组成部分,项目拆除重建用地面积4.63万㎡,规划总建筑面积约23.6万㎡,包含住宅、商业及商务公寓等业态,分为两期来开发。

规划设计

**荣津瀚海湾地处盐田区沙头角海涛路与公园路交汇处,是**集团与荣津集团联手开发的高品质精装智能社区,住宅面积40-117㎡,公寓面积30-70㎡。**荣津瀚海湾采用悦系精装标准,全面打造智慧社区。架空层云会所覆盖全龄休闲需求,自带5000㎡风情商业街,9班制幼儿园。尊享荣津物业,周边配套丰盛,交通畅达。

景观特色

**荣津瀚海湾以低密规划,为居者打造更适宜的居住环境。敞阔住居空间,保证每户采光通风和私密性,创鉴与自然和谐的生活方式;打造阔楼间距,有效保障鲜氧直入,清风携徐徐花香缓缓流过,将自然气息带至每个房间;会聚峯层雅士,造品质生活圈层。

建筑风格

配合山海资源,**荣津瀚海湾名庭沿街商业采用滨海风情主题,建筑上采用现代风格,点式布局,保证日照采光及通风效果。小区内沿用智慧社区一体化安防系统设计,园林以海洋文化为园林设计主题,营造了儿童梦乐园,海湾书屋,海韵港湾,鲨鱼乐园&深海寻宝乐园等全龄化剧场,让业主足不出户即享滨海乐趣。 30-70㎡智能精装公寓,空间精致,布局合理,而且高效收纳,美观实用,景观阳台实现了开阔视野,卫生间、实用L型人性化茶水间等功能一应俱全,干湿分离,健康环保。精装上,甄选了科勒、老板、西蒙等国内外名品(或同档次品牌),匹配精致生活。

项目优势

卓越荣津瀚海湾项目地理位置优越、交通便利、周边配套齐全,居住起来生活方便。双区驱动,打造国际创新型滨海城区。70年产权·不限购不限贷·积分入学。脚步级商圈 ,1公里范围滨海都心生活区。
更多信息,咨询楼盘置业管家
  • 楼盘点评
  • 在售栋数一二三四单元面积,在售面积:96-114-124平,3梯6户,47层48层,2.9米层高,2025年12月开发商: 占地:2万平米 建面:15.4万平米,总53万平米

  • 地铁比较近,户型比较宽敞没有小户型,350米有龙华区第三实验中学,医院也比较近500米,属于大浪中心,附近也有商场

  • 卷价格,品质不减配 红山之上·都心理想生活范本 约31万㎡稀缺大社区大配套 建面约80-113㎡甄选3-4房 总价420万内任选80平三房 总价465万内任选89平三房

本楼盘交流群,3042 人正在讨论

房价走势 完整走势 ﹥
楼盘均价 25000元/㎡

环比上月持平

区域均价 36366元/㎡

环比上月持平

专属置业报告
您的购房需求
区域价值分析
猜你喜欢
买房群
看了这么久,立即咨询售楼现场优惠吧  ↓