依家网

更新于 2024-03-29

佳华领悦广场

关注
售完 住宅 毛坯 已开盘 不限购
50000元/㎡
参考均价
300万以下
咨询首付
3-4房
82-114㎡
开盘 2021-05-16 新开盘通知
位置
坪山规划兰竹西路与龙坪路交汇处西南侧
发地址到手机
变价通知
组团砍价

13826574263
15899920080

立即咨询售楼现场优惠(安全通话)

佳华领悦广场户型图

余房查询
  • 全部户型(2)
  • 2室(2)
成交价查询
余房查询
买房交流群 3042 人正在讨论深圳楼市
深圳买房交流群-65群(338)
楼盘评测报告

7.2

综合评分
楼盘品质
8
社区配套
6
区域价值
7.5

佳华领悦广场楼盘信息

领取楼盘评测报告
基本信息
  • 楼盘名称: 佳华领悦广场
  • 楼盘别名: 百佳华新和旧改
  • 区域商圈: 坪山区 -坪山
  • 物业类型: 住宅
  • 参考单价: 50000元/㎡ 降价通知
  • 产权年限: 普通住宅:70年
  • 开盘/加推: 2021-05-16 新开盘通知
  • 销售状态: 售完
  • 楼盘地址: 坪山规划兰竹西路与龙坪路交汇处西南侧 发地址到手机
  • 售楼处地址: 深圳市坪山区坪山规划兰竹西路与龙坪路交汇处西南侧
建筑规划
  • 交房时间: 2022-12-28
  • 装修情况: 毛坯
  • 楼栋总数: 4栋
  • 规划户数: 804户
  • 占地面积: 28032㎡
  • 建筑面积: 212800㎡
  • 容积率: 4
  • 绿化率: 40%
  • 建筑类型: 塔楼
  • 主力户型: 2室(2)
  • 开发公司: 深圳市百佳利华投资有限公司
领取完整楼盘评测报告,楼盘优劣全知道
售卖资格
预售证号 发证时间 绑定楼栋
  • 深房许字(2021)坪山002号 2021-05-06
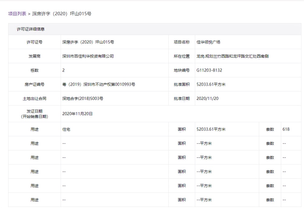
  • 深房许字(2020)坪山015号 2020-11-20
查看全部
生活配套
  • 物业公司: 深圳市百佳利华投资有限公司
  • 物业费: 4元/㎡/月
  • 车位数: 1060个停车位
  • 周边配套:
    • 交通地铁:16号线新和站C出口直连(地下直连至商业、酒店和住宅车库大堂直接入户)
    • 幼儿园自带6班幼儿园
    • 中**坪山实验、飞西
    • 综合商场自带约4.5万㎡商业Mall,周边拥有财富城商业、益田假日世界、华润万家、人人乐
    • 医院深圳市坪山新区人民医院、深圳市萨米国际医疗中心(深圳市第四人民医院)、坪山新区妇幼保健院、坪山中医院(平乐骨伤科)、南方医科大学深圳口腔医院(坪山)
    • 银行/ATM中信银行、中国银行、深圳农村商业银行、华夏银行、平安银行、招商银行、中国邮政储蓄银行
    • 其他【小区内部配套】无感通行(人脸识别)、智能访客邀请、智能联动呼梯、智能停车引导系统、停车位定位导航系统、反向寻车系统、紧急呼叫及对讲系统;【休闲娱乐】总建筑面积约11.9万㎡的坪山文化中心
领取完整楼盘评测报告,楼盘优劣全知道
楼盘介绍

项目介绍

佳华领悦广场为坪山中心区双地铁16、19号线直连商业并配有双学区的住宅项目,由3栋(4座)住宅、1栋酒店、1所6班幼儿园结合集中式商业Mall组成的全业态精品综合体,项目采用佳华集团商业+地产的运营模式,其中酒店和商业都将全部自持,并且由集团旗下的百佳华商业与云著酒店进行统一运营管理,未来将发展成为区域地标级品质综合体。 佳华领悦广场紧邻约48万㎡半月环公园,步行瞬达坪山实验**(2019年中考全市排名第33名,坪山区排名第1名,**率为61%),步行可方便到达约11.9万㎡的坪山文化中心(六馆一城),以及通达坪山高铁站,更有益田假日世界、人人乐等商业环绕。佳华领悦广场为一期全部开发,主力户型为建面62-114㎡2-4房。

更多信息,咨询楼盘置业管家
  • 楼盘点评
  • 卷价格,品质不减配 红山之上·都心理想生活范本 约31万㎡稀缺大社区大配套 建面约80-113㎡甄选3-4房 总价420万内任选80平三房 总价465万内任选89平三房

  • 在售栋数一二三四单元面积,在售面积:96-114-124平,3梯6户,47层48层,2.9米层高,2025年12月开发商: 占地:2万平米 建面:15.4万平米,总53万平米

  • 地铁比较近,户型比较宽敞没有小户型,350米有龙华区第三实验中学,医院也比较近500米,属于大浪中心,附近也有商场

本楼盘交流群,3042 人正在讨论

房价走势 完整走势 ﹥
楼盘均价 25000元/㎡

环比上月持平

区域均价 36366元/㎡

环比上月持平

专属置业报告
您的购房需求
区域价值分析
猜你喜欢
买房群
看了这么久,立即咨询售楼现场优惠吧  ↓