依家网

更新于 2024-03-29

兆邦基端慧苑

关注
在售 住宅 毛坯 已开盘 地铁沿线
34000元/㎡
参考均价
300万以下
咨询首付
2-3房
65-96㎡
开盘 2020-11-29 新开盘通知
位置
光明区高级旁
发地址到手机
变价通知
组团砍价

13826574263
15899920080

立即咨询售楼现场优惠(安全通话)

兆邦基端慧苑户型图

余房查询
  • 全部户型(3)
  • 2室(1)
  • 3室(2)
成交价查询
余房查询
买房交流群 3042 人正在讨论深圳楼市
深圳买房交流群-65群(338)
楼盘评测报告

7.2

综合评分
楼盘品质
8
社区配套
6
区域价值
7.5

兆邦基端慧苑楼盘信息

领取楼盘评测报告
基本信息
  • 楼盘名称: 兆邦基端慧苑
  • 楼盘别名: 兆邦基·端慧苑,兆邦基端慧苑(普通住宅)
  • 区域商圈: 光明区 -公明
  • 物业类型: 住宅
  • 参考单价: 34000元/㎡ 降价通知
  • 产权年限: 商住公寓70年
  • 开盘/加推: 2020-11-29 新开盘通知
  • 销售状态: 在售
  • 楼盘地址: 光明区高级旁 发地址到手机
  • 售楼处地址: 深圳市光明区公明街道松白路
建筑规划
  • 交房时间: 2023-12-31
  • 装修情况: 精装修,公共部分精装
  • 楼栋总数: 4栋
  • 规划户数: 406户
  • 占地面积: 18382㎡
  • 建筑面积: 104000㎡
  • 容积率: 6
  • 绿化率: 40%
  • 建筑类型: 板塔结合,塔楼,高层
  • 主力户型: 2室(1) 、 3室(2)
  • 开发公司: 深圳市沧然实业发展有限公司
领取完整楼盘评测报告,楼盘优劣全知道
售卖资格
预售证号 发证时间 绑定楼栋
  • 深房许字(2021)光明007号 2021-07-23
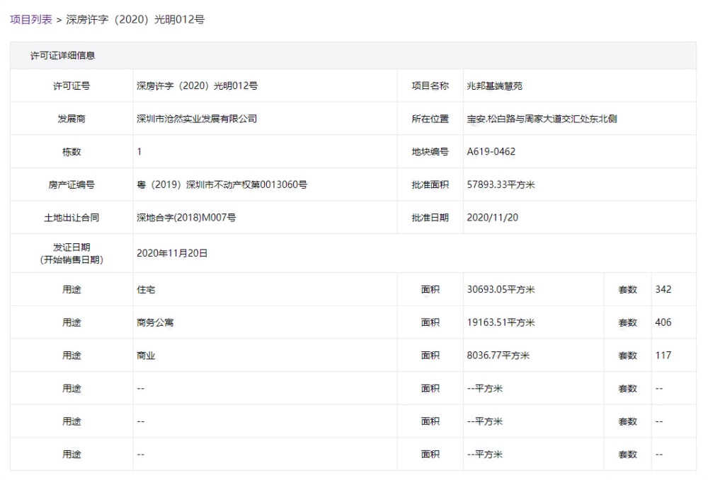
  • 深房许字(2020)光明012号 2020-11-20
查看全部
生活配套
  • 物业公司: 深圳市沧然实业发展有限公司
  • 物业费: 6元/㎡/月
  • 车位数: 地下车位数650
  • 周边配套:
    地铁: 红花山地铁站-E2口红花山地铁站-E1口红花山地铁站-D口红花山地铁站-C口红花山地铁站-B2口红花山地铁站-B1口红花山地铁站-A2口红花山地铁站-A1口楼村地铁站-C口楼村地铁站-B口
    教育设施: 思考乐教育(光明峰荟分校)万邦教育(光实校区)万邦教育辅导(光高校区)跃进教育中心凯恩文化艺术星火教育(公明校区)艺树音乐教育深圳慧通消安产业科技有限公司光明区消防安全综合教育基地拓慧教育立而翔教育
    医院: 中国科学院大学深圳医院(西院区)深圳市光明新区人民医院住院大楼明顺堂中医院好大夫广东省小动物猫科专科医院艾帝斯宠物医院(公明店)乐嘟宠物医院中国科学院大学深圳医院(光明)中央山社区健康服务中心雅康宠物医院翔龙宠物诊所(松白路)
    购物: 将石商业广场新华百货(南庄店)富家易购(公明店)嘉嘉生活超市好家福超市平价百货玩具公话超市佳乐生活超市好购多乐返全国连锁超市佳汇超市佳惠连锁店
    公园: 深圳市华星光电湿地公园将石公园东坑社区公园石围公园塘尾社区公园南庄新村街心公园石家社区消防主题公园将围社区消防主题公园西部公汽三分公司峰荟花园首末站汉御坊
领取完整楼盘评测报告,楼盘优劣全知道
楼盘介绍

项目介绍

兆邦基·端慧苑位于深圳市光明新区公明街道,松白路与周家大道交汇东北侧,紧邻光明高级**。项目总占地18382㎡,总建筑面积约10.4万㎡,由住宅、商务公寓、写字楼及商业等多元物业组成。项目同时配建18班制**及9班制幼儿园,为光明新区高新组团综合服务区内的城市综合体。

兆邦基端慧苑千亿量级城市焕新, 擎领片区蝶变项目占据光明中心,周边聚集光明区70%旧改体量,城市更新面积超408万㎡,不完全统计旧改项目达18个, 包括轨道13号线城市旧改、光明新区公明街道旧改等。华润、**、佳兆业、里程等品牌发展商进驻,城市风貌焕新,光明配套也将乘势腾飞。

兆邦基端慧苑地处光明———湾区黄金轴线的又一个战略节点,引领深圳从城市科技园走向国际科学城。光明南接深圳南山科技园,北联东莞松山湖,向上链接东莞水乡新城和广州大学城,是粤港澳大湾区的重要战略节点,占据中国科创发展大动脉。

区位介绍

兆邦基端慧苑地处光明———湾区黄金轴线的又一个战略节点,引领深圳从城市科技园走向国际科学城。光明南接深圳南山科技园,北联东莞松山湖,向上链接东莞水乡新城和广州大学城,是粤港澳大湾区的重要战略节点,占据中国科创发展大动脉。

规划设计

兆邦基端慧苑千亿量级城市焕新, 擎领片区蝶变项目占据光明中心,周边聚集光明区70%旧改体量,城市更新面积超408万㎡,不完全统计旧改项目达18个, 包括轨道13号线城市旧改、光明新区公明街道旧改等。华润、**、佳兆业、里程等品牌发展商进驻,城市风貌焕新,光明配套也将乘势腾飞。

景观特色

兆邦基端慧苑周边生态资源:53.6%的生态控制线, 18个水,46平方公里256个公园,名副其实的深圳“都市后花园”。光明53.6%生态,成就“深圳花园”宜居生活 毗邻40万㎡红花山公园,名副其实“天然氧吧” 光明区以53.6%的生态控制线, 18个水库,46平方公里256个公园,名副其实的“深圳绿肺”,可说是深圳**生态人居高地。

建筑风格

兆邦基端慧苑的建筑风格为“现代、简约”,通过各种色条的搭配诠释全新的住宅风貌,体现项目建筑简洁、大气、高尚的气质。采用法式原萃经典Art Deco建筑风格,高贵典雅的三段式外立面分色设计,线条凹凸有致,刚劲有力,呈现出独有的力量感,每一处细节皆悉心考究,美感与品质共存。

项目优势

兆邦基端慧苑是光明唯一70年产权公寓,民水民电通燃气带阳台,小面积 低总价 精装交付,实验学校旁13号地铁直连100米,2023年交楼/与地铁开通同年,可凭政策积分入学。光明———湾区黄金轴线的又一个战略节点,引领深圳从城市科技园走向国际科学城。光明南接深圳南山科技园,北联东莞松山湖,向上链接东莞水乡新 城和广州大学城,是粤港澳大湾区的重要战略节点,占据中国科创发展大动脉。
更多信息,咨询楼盘置业管家
  • 楼盘点评
  • 卷价格,品质不减配 红山之上·都心理想生活范本 约31万㎡稀缺大社区大配套 建面约80-113㎡甄选3-4房 总价420万内任选80平三房 总价465万内任选89平三房

  • 地铁比较近,户型比较宽敞没有小户型,350米有龙华区第三实验中学,医院也比较近500米,属于大浪中心,附近也有商场

  • 在售栋数一二三四单元面积,在售面积:96-114-124平,3梯6户,47层48层,2.9米层高,2025年12月开发商: 占地:2万平米 建面:15.4万平米,总53万平米

本楼盘交流群,3042 人正在讨论

房价走势 完整走势 ﹥
楼盘均价 25000元/㎡

环比上月持平

区域均价 36366元/㎡

环比上月持平

专属置业报告
您的购房需求
区域价值分析
猜你喜欢
买房群
看了这么久,立即咨询售楼现场优惠吧  ↓